Manuel du conducteur










Le remplacement de cette pièce est une opération liée au remplacement de la partie latérale de plancher central pour une collision latérale.
Dans la méthode décrite ci-après vous ne trouverez que les descriptions et liaisons spécifiques à la pièce concernée.
Les informations concernant les pièces complémentaires seront traitées dans leurs chapitres respectifs (voir sommaire).
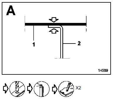
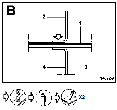
COMPOSITION DE LA PIECE M.P.R.
Pièce assemblée avec :
Entretoises de fixation de siège

PIECES CONCERNEES (épaisseur en mm) :







Traverse avant sous siège avant
Traverse avant de plancher arrièreRemorquage
Avant tout remorquage, déverrouillez
la colonne de direction : pied sur l'embrayage,
engagez le premier rapport
(levier en position N ou R pour les véhicules
à boîte de vitesses automatique),
insérez la carte RENAULT dans
le lecteur de carte puis appuyez deux
...
Interprétation des Etats
PRESSOSTAT DE DIRECTION
ASSISTEE
CONSIGNES
Aucun défaut ne doit être présent ou mémorisé.
Vérifier le bon fonctionnement de la direction assisté (niveau d'huile,..).
Vérifier le bon branchement du pressostat de direction assistée ...
Interprétation des états
GMV petite
vitesse
GMV grande vitesse
CONSIGNES
Si le fonctionnement du groupe motoventilateur ne se fait pas comme
indiqués, faire
un contrôle complet du circuit groupe motoventilateur (voir dans diagnostic
injection).
GMV = 1 - Petite vitesse ventilateur de refroidisse ...