Manuel du conducteur


DEPOSE COTE ROUE
Véhicule sur un pont à deux colonnes.
Déposer :


Repousser la transmission dans le porte fusée en inclinant celui-ci.
Déposer la transmission côté roue.
DEPOSE COTE BOITE
Côté droit :
Déposer :

Côté gauche :
Vidanger la boîte de vitesses.
Déposer :

REMPLACEMENT
Côté gauche :
Déposer le protecteur plastique du soufflet roulement et engager la transmission le plus horizontalement possible.

Côté droit :
Nettoyer l'alésage du palier recevant le roulement.
Contrôler l'état de la portée du joint à lèvre sur l'arbre relais.

NOTA : il est recommandé de remplacer systématiquement le joint à lèvre de sortie de différentiel (voir chapitre correspondant).
Protecteur en place, enduire les cannelures du joint, côté boîte de vitesses, de graisse MOLYKOTE BR2.
Positionner la transmission par rapport au planétaire et l'engager.
Pour les deux côtés :
Engager la transmission dans le planétaire du pont, puis la fusée dans le moyeu.
Elle doit rentrer librement jusqu'au dépassement du filetage permettant la mise en place de l'écrou de fusée.
Procéder ensuite en sens inverse de la dépose.
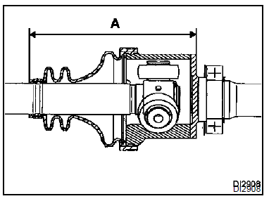
ELEMENT PRIMAIRE DE TRANSMISSION DROITE (Particularités)
Répartir la dose de graisse dans le soufflet.
NOTA : il est impératif de respecter le volume de graisse prescrit dans le chapitre "Ingrédients".
Introduire une tige non tranchante à bout arrondi entre le soufflet et l'arbre afin de doser la quantité d'air contenue à l'intérieur du joint.

Allonger ou raccourcir le joint jusqu'à l'obtention de la cote A = 156 + - 1 mm (cote prise entre l'extrémité du soufflet et la face usinée du plus grand diamètre de la tulipe).
Placer le grand collier et le sertir à l'aide d'une pince OETIKER référence 1090 (voir soufflet côté boîte de vitesses - joint RC 491).
Mettre en place l'immobilisateur de moyeu Rou. 604-01 et serrer l'écrou de transmission au couple.
Reposer l'ensemble de freinage (voir chapitre correspondant).
Procéder ensuite de la façon inverse à la dépose, et serrer les écrous aux couples préconisés.
Respecter le parcours des câblages ABS.
Effectuer le remplissage ou le niveau (suivant le cas) de la boîte de vitesses.
Ne se servir en aucun cas d'un objet à bout tranchant pouvant "blesser" le soufflet.
Appuyer plusieurs fois sur la pédale de frein afin de mettre le piston en contact avec les garnitures.
ROULEMENT PALIER D'ARBRE RELAIS
REMPLACEMENT
Déposer la transmission complète.
Extraire le roulement à la presse en prenant appui sur un extracteur décolleur de type FACOM U53T ou similaire.
Veiller à ne pas rayer la portée du joint à lèvre sur l'arbre relais.

REMONTAGE
Lubrifier la partie de l'arbre recevant le roulement.
Engager le roulement neuf, puis effectuer sa mise en place jusqu'en butée à l'aide d'un tube afin de prendre appui sur la bague intérieure du roulement.
Avant repose de la transmission, nettoyer et graisser l'alésage du palier recevant le roulement.
Eclaté
Soufflet côté roueMoteur L7X
La dépose-repose du carter inférieur ne présente pas de difficultés
particulières.
Approcher les vis et serrer au couple de 0,8 daN.m dans l'ordre suivant :
NOTA : l'étanchéité du carter est assurée par un joint composite
suppo ...
Liquide de refroidissement moteur
Moteur à l'arrêt et sur sol horizontal, le
niveau à froid doit se situer entre les
repères " MINI " A et " MAXI " B indiqués
sur le bocal de liquide de refroidissement
1.
Complétez ce niveau à froid avant qu'il
n'atteigne le repère " ...
Moteur F9Q
DEPOSE
Mettre le véhicule sur un pont élévateur à deux
colonnes.
Débrancher la batterie.
Déposer :
le cache moteur,
la roue avant droite,
le pare-boue droit ainsi que la protection latérale,
la protection sous moteur,
la courroie ...