Manuel du conducteur
Le remplacement de cette pièce est une opération liée au remplacement d'un demi-bloc avant droit pour une collision avant, celui-ci n'étant pas livré avec le support biellette soudée en position.
Il sera nécessaire de commander cette pièce en supplément pour réaliser l'opération.
Dans la méthode décrite ci-après vous ne trouverez que les descriptions et liaisons spécifiques à la pièce concernée.
L'utilisation du banc de réparation est indispensable pour le remplacement de cette pièce.
Celle-ci se positionne après soudure du demi-bloc.
Les informations concernant les pièces complémentaires seront traitées dans leurs chapitres respectifs (voir sommaire).
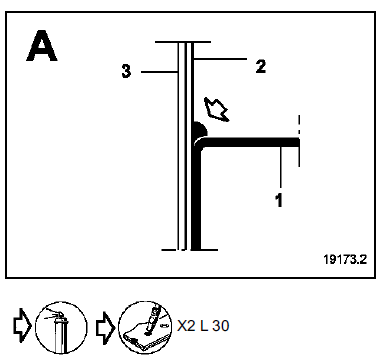
COMPOSITION DE LA PIECE M.P.R.
Pièce assemblée avec :
Plaque support
Ecrous serti

PIECES CONCERNEES (épaisseur en mm) :




Renfort supérieur de passage de roue
Cloison de chauffage complèteInterprétation des commandes
COMMANDE
ACTIONNEUR POSITION HAUTE
COMMANDE ACTIONNEUR POSITION BASSE
CONTROLE ACTIONNEUR POSITION HAUTE ET BASSE
CONSIGNES
Aucun défaut ne doit être présent ou mémorisé
Effectuer ce diagnostic après avoir relevé un dysfonctionnement dans le
...
Levier de vitesses
Levier de vitesses
Levier de vitesses
Passage en marche arrière
Véhicules à boîte de vitesses manuelle : suivez la grille dessinée sur le
pommeau 1 et, suivant véhicule, soulevez l'anneau 4 contre le pommeau pour
pouvoir passer la marche arri&egrav ...
Principe de fonctionnement
TABLEAU DE COMMANDE
Témoin de fonctionnement du pare-brise électrique,
Réglage de la température,
Mise en service de l'air conditionné,
Répartition de l'air dans l'habitacle,
Mise en service de la lunette arrière dégivrante et d ...