Manuel du conducteur

La réparation partielle d'une transmission est possible côté roue :
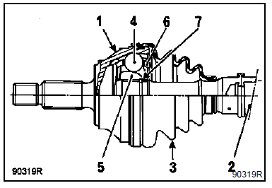
JOINT COTE ROUE A SIX BILLES

DEMONTAGE
Couper les colliers et le soufflet sur toute sa longueur.
Enlever le maximum de graisse.
Ecarter l'anneau d'arrêt (7) et, simultanément, appliquer quelques coups de maillet sur la face frontale du moyeu à bille (5).
Séparer ainsi le joint de l'arbre.

REMONTAGE
Engager sur l'arbre :
Emmancher le joint à billes (1) muni de son anneau d'arrêt (neuf) sur les cannelures de l'arbre jusqu'en butée du segment de la gorge (B) de l'arbre.

Répartir la dose de graisse dans le soufflet et dans le bol fusée.
Positionner les lèvres du soufflet dans les gorges du bol (1) et de l'arbre de transmission (2).

Mettre en place le grand collier.
SERTISSAGE COLLIERS
Colliers clic CAILLAU

Utiliser la pince T.Av. 1168.


NOTA : les colliers clic CAILLAU ne sont pas réutilisables.
COLLIER OETIKER

Utiliser la pince T.Av. 1256.
POSITION 1 - Présertissage et positionnement du collier

Placer la biellette (A) dans le cran inférieur et fermer la pince en butée. Le collier préserti glisse sur le soufflet et peut être positionné.
POSITION 2 - Sertissage

Placer la biellette (A) dans le cran supérieur et fermer la pince en butée.
96048S
Transmission transversale avant
Soufflet côté boîte de vitessesRenfort supérieur de passage de roue
Le remplacement de cette pièce est une opération liée
au remplacement de la cloison de chauffage pour une
collision latérale avant.
Le dégrafage de cette pièce peut être utile pour planer
la cloison de chauffage lors d'un redressage.
Dans la m ...
Particularités
MOTEURS K4M - F4P
PARTICULARITES DE L'INJECTION MULTIPOINT SAGEM "S2000"
Calculateur 112 voies de marque SAGEM et de type "S2000" pilotant
l'injection et l'allumage.
Injection multipoint fonctionnant en mode séquentiel sans capteur de
repéra ...
Accessibilité pour les véhicules équipés d'un hautparleur dans le coffre
côté gauche
Depuis le coffre, dégagez la moquette
latérale.
Desserrez les trois vis 15, 16 et 17
puis, dégagez le haut-parleur.
Nota : pour les versions 5 portes, saisissez
le caisson à deux mains, ramenez
la partie haute du caisson vers
vous tout en maintenant la fixati ...