Manuel du conducteur
PK / JR / JH
DP0 / SU1
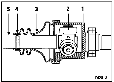
Joint sur transmission droite - boîte de vitesses PK / JR / JH / DPO / SU1


DEMONTAGE
Couper le collier de maintien.

Scier le grand collier existant en prenant garde de ne pas "blesser" la gorge de la tulipe.

Couper le soufflet.

Enlever le maximum de graisse.
(Joint sur transmission droite)

NOTA : la tulipe n'étant pas équipée de languette arrêtoir, sa dépose se fait sans forcer.
Ne pas sortir les galets de leurs tourillons respectifs car les galets et aiguilles sont appariés et ne devront jamais être intervertis.
Ne jamais utiliser de diluant pour le nettoyage des pièces constitutives.
Déposer le circlips (suivant modèle).

A la presse, extraire le triaxe en prenant appui sur un extracteur décolleur du type FACOM U53T

REMONTAGE
Lubrifier l'arbre de transmission et mettre en place :

Rentrer le triaxe sur l'arbre cannelé.

Remettre en place le circlips de maintien.
Répartir la dose de graisse dans le soufflet.
NOTA : il est impératif de respecter le volume de graisse prescrit dans le chapitre "Ingrédients".
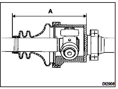
Introduire une tige non tranchante à bout arrondi entre le soufflet et la tulipe afin de doser la quantité d'air contenue à l'intérieur du joint.
Allonger ou raccourcir le joint jusqu'à l'obtention de la cote A = 156 + - 1 mm (cote prise entre l'extrémité du soufflet et la face usinée du plus grand diamètre de la tulipe).

Dans cette position, enlever la tige.
Serrer sur le soufflet avec l'outil T.Av. 1034 :



Pour se procurer la pince OETIKER, il suffira de la commander directement chez son fournisseur.

PK / JR / JH

Joint sur transmission gauche - boîtes de vitesses PK, JR et JH.

DEPOSE
Ne jamais utiliser de diluant pour le nettoyage de pièces constitutives.
Suivant montage, déposer le circlips.

A la presse, extraire le triaxe en prenant appui sur un extracteur du type FACOM U53T.

Déposer l'ensemble soufflet et roulement de la même manière que pour le triaxe.

REPOSE
Pour être en position sur l'arbre, le roulement doit être emmanché pour obtenir une cote L entre la partie arrière du roulement et l'extrémité de l'arbre.
Cette cote est obtenue avec l'outil T.Av. 1244 ou T.Av. 944 quand son extrémité est au niveau de l'arbre.

Pour éviter les déformations du roulement qui comporte un joint à lèvres, donc des risques de fuites, ne pas effectuer l'emmanchement au marteau mais à la presse pour avoir une pression progressive.

D'autre part, le maintien de la transmission sur la presse sera assuré sur la gorge avec un outil du type FACOM U53T, pour éviter les détériorations du joint côté roue.

Rentrer le triaxe sur l'arbre cannelé et remettre le circlips de maintien (suivant montage).
DP0 / SU1
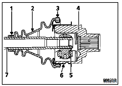
Joint sur transmission gauche - boîte de vitesses DP0 et SU1
1 et 3. Colliers de maintien

DEMONTAGE
Couper le collier ser ti et le soufflet sur toute sa longueur.
Retirer le maximum de graisse

Relever avec une pince chaque extrémité de la plaquette anti-déboîtage (C), puis déposer la tulipe.

Ne pas sortir les galets de leurs tourillons respectifs, car les galets et aiguilles sont appariés et ne devront jamais être intervertis.
Ne jamais utiliser de diluant pour le nettoyage des pièces constitutives.
Suivant montage, déposer le circlips.

A la presse, extraire le triaxe, en prenant appui sur un extracteur décolleur.

REMONTAGE
Lubrifier l'arbre de transmission et glisser le bracelet et le soufflet neufs.
Rentrer le triaxe sur l'arbre cannelé.

Remettre en place le circlips de maintien ou effectuer trois points de sertissage à 120' en refoulant le métal des cannelures sur l'arbre de transmission.
NOTA : il est impératif de respecter le volume de graisse prescrit dans le chapitre "Ingrédients".

Interposer entre la plaquette anti-déboîtage et la tulipe une cale (B) d'épaisseur 2,5 mm réalisée suivant dessin.

Avec un jet en bronze, ramener soigneusement la plaquette dans sa position initiale, puis retirer la cale (B).

Positionner les lèvres du soufflet dans les gorges de l'arbre de transmission et sur le capot tôle.

Introduire une tige non tranchante à bout arrondi entre le soufflet et la tulipe, afin de doser la quantité d'air contenue à l'intérieur du joint.
Allonger ou raccourcir le joint jusqu'à obtention de la cote A = 153,5 + - 1mm (cote prise entre l'extrémité du soufflet et la face usinée du plus grand diamètre de la tulipe).

Dans cette position, enlever la tige et monter le collier de maintien.
Le serrer avec l'outil T.Av. 1034.

Soufflet côté roue
ChâssisEffets client
CONSIGNES
Consulter les "Effets client" seulement après avoir exécuté un
diagnostic avec
l'outil de diagnostic et fait le contrôle de conformité.
PROBLEMES AU DEMARRAGE DU MOTEUR
Le démarreur ne s'enclenche pas levier de sélection sur p ...
Filtre à carburant
MOTEUR F9Q 754
Le filtre à carburant est placé dans le compartiment moteur. Il est contenu
dans une cartouche indémontable. Cette
cartouche contient une soupape régulatrice qui a pour fonction de limiter le
débit de gazole circulant vers le moteur.
Pour re ...
Moteur de réglage du dossier
DEPOSE
Après avoir déposé :
le siège (chapitre 75 A),
la garniture de dossier (chapitre 77 A),
déposer les quatre rivets de fixation (A).
Déposer les arrêtoirs du câble (B).
Déclipser les câbles du moteur.
...