Manuel du conducteur
Le remplacement de cette pièce est une opération complémentaire au remplacement de la traverse extrême avant pour une collision avant.
Cette opération s'effectue suivant deux possibilités (voir méthode ci-après) :
Dans la méthode décrite ci-après vous ne trouverez que les descriptions et liaisons spécifiques à la pièce concernée.
Les informations concernant les pièces complémentaires seront traitées dans leurs chapitres respectifs (voir sommaire).
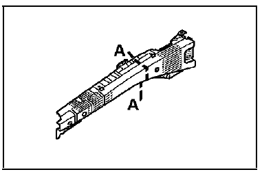
COMPOSITION DE LA PIECE M.P.R.
Pièce assemblée avec :
Renfort choc

PIECES CONCERNEES (épaisseur en mm) :
Remplacement partiel


Remplacement complet





Support de fixation latérale de bouclier
Côté d'auventFonction anti-démarrage
MOTEURS TOUS TYPES
Ce véhicule est équipé d'un système anti-démarrage de 3ème génération, ce qui
implique une méthode particulièrepour le remplacement du calculateur.
REPLACEMENT D'UN CALCULATEUR D'INJECTION
Voir chapitre 17 ...
Connecteur de garniture de pavillon
La garniture de pavillon n'est pas collée sur le
véhicule. Celle-ci est maintenue par les joints des
ouvrants, par les pare-soleil et par les poignées de
virage (utiliser l'outil Car. 1597).
Il est possible de remplacer la garniture et conserver le
faisceau ou de remplace ...
Schéma
Moteurs K4M-F4P
Boite de vitesses manuelle
Moteur
Radiateur
Bocal "chaud" avec dégazage après thermostat
Aérotherme
Support thermostat
Ajutage 3 mm
Ajutage 8,5 mm
Pompe à eau
Thermostat
Purgeur
La valeur de tarage de la soup ...