Manuel du conducteur
Le remplacement de cette pièce est une opération complémentaire au remplacement de la partie latérale de plancher central ou d'un demi-bloc avant pour une collision latérale avant.
Dans la méthode décrite ci-après vous ne trouverez que les descriptions et liaisons spécifiques à la pièce concernée.
Les informations concernant les pièces complémentaires seront traitées dans leurs chapitres respectifs (voir sommaire).
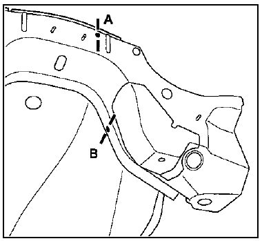
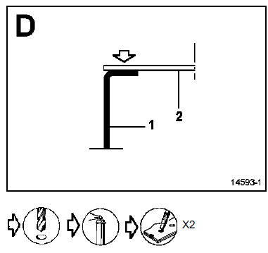
COMPOSITION DE LA PIECE M.P.R.
Pièce assemblée avec :
Supports tirants acoustiques
Ecrous sertis
Rivet

PIECES CONCERNEES (épaisseur en mm) :






Longeron avant partie arrière
Boîtier de fixation berceauAide à la recherche de court-circuits sur le réseau
CONSIGNES
Se munir du schéma du réseau multiplexé du véhicule (schéma de la prise
diagnostic).
Couper le contact, retirer le badge du lecteur.
Vérifier que les lanternes soient éteintes,
Attendre 1 minute.
En cas de court-circuit au +batteri ...
Contrôle
Contrôle de l'étanchéité du circuit
Remplacer la soupape de vase d'expansion par
l'adaptateur M.S. 554-01.
Brancher sur celui-ci l'outil M.S. 554-07.
Faire chauffer le moteur, puis l'arrêter.
Pomper pour mettre le circuit sous pression.
Cesser de pomp ...
Crevaison. Roue de secours
En cas de crevaison, vous
disposez, suivant véhicule :
D'une roue de secours ou d'un kit de
gonflage des pneumatiques (reportezvous
aux pages suivantes).
Roue de secours
Elle est placée dans le coffre. Pour y
accéder :
ouvrez la porte de coffre ;
soulevez les ta ...