Manuel du conducteur
Le remplacement de cette pièce est une opération complémentaire liée au remplacement de la fermeture de longeron avant pour une collision avant.
Dans la méthode décrite ci-après vous ne trouverez que les descriptions et liaisons spécifiques à la pièce concernée.
La traverse extrême avant doit être utilisée comme gabarit pour le positionnement de la pièce.
Les informations concernant les pièces complémentaires seront traitées dans leurs chapitres respectifs (voir sommaire).
COMPOSITION DE LA PIECE M.P.R.
Pièce assemblée avec :
Plaque support
Ecrous sertis

PIECES CONCERNEES (épaisseur en mm) :



Traverse extrême avant
Fermeture de longeron avantAir conditionné : informations et conseils d'utilisation
Conseils d'utilisations
Dans certains cas, (air conditionné
arrêté, recyclage d'air activé, vitesse
de ventilation nulle ou faible...) vous
pouvez constater l'apparition de
buée sur les vitres et le pare-brise
du véhicule.
En cas de buée, util ...
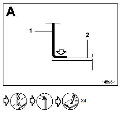
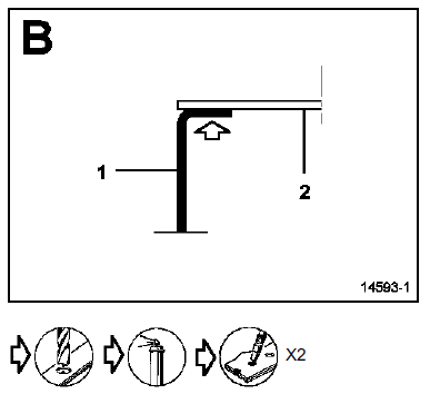
Renfort de pied milieu
Le remplacement de cette pièce suivant la coupe A-A
est une opération complémentaire au remplacement
du pied milieu pour une collision latérale.
Cette opération peut s'effectuer complète, en
complément au remplacement de la partie avant de
c&oc ...
Renfort boîtier de fixation berceau
Le remplacement de cette pièce est une opération liée
au remplacement de la partie centrale de longeron
avant pour une collision latérale avant.
Dans la méthode décrite ci-après vous ne trouverez
que les descriptions et liaisons spécifiqu ...