Manuel du conducteur
MOTEURS TOUS TYPES

IMPORTANT : pendant toute l'opération de dépose-repose du réservoir, ne pas fumer et ne pas approcher de pièces incandescentes près de l'aire de travail.
VIDANGE DU RESERVOIR (version essence)
Soulever l'assise de banquette arrière et déposer l'obturateur plastique d'accès à l'ensemble pompejauge.

Débrancher le raccord rapide (1) et adapter sur la sortie (C), une canalisation d'une longueur suffisante pour qu'elle puisse être prolongée dans un récipient à l'extérieur du véhicule.
NOTA : il est possible aussi d'utiliser une pompe pneumatique de transvasement INTERCO (voir catalogue MATERIEL).
Dans le compartiment moteur, débrancher le relais de pompe à carburant placé dans le boîtier d'interconnexion moteur (Relais A pour moteurs K4, F4 et F5, Relais B pour moteur L7).

Shunter les voies 3 et 5 et laisser s'écouler l'essence jusqu'à ce qu'elle arrive par intermittence.
Débrancher le shunt.
Rebrancher le relais.
Débrancher la batterie.
VIDANGE DU RESERVOIR (version diesel)
L'absence de pompe électrique à carburant sur les versions Diesel oblige à utiliser une pompe pour vidanger le réservoir.
Utilisation par exemple de la pompe pneumatique INTERCO (voir catalogue MATERIEL).

Soulever l'assise de banquette arrière et déposer l'obturateur plastique d'accès à l'ensemble pompejauge.

Débrancher le raccord rapide (1) et brancher sur la sortie (A) le tuyau caoutchouc de la pompe pneumatique.
Vidanger le réservoir.
DEPOSE DU RESERVOIR (versions Essence ou Diesel)
Débrancher la batterie.
Mettre le véhicule sur un pont élévateur à deux colonnes.
Soulever l'assise de banquette arrière et déposer l'obturateur plastique d'accès à l'ensemble pompejauge.
Débrancher le connecteur électrique (2) et le ou les raccord(s) rapide(s) (3).

Lever le véhicule.
Si nécessaire :
Déposer les agrafes (4) des tuyaux de freins et dégager les tuyaux de freins de la barre acoustique.
Retirer l'agrafe (5) de fixation de l'écran thermique.
Déposer la barre acoustique reliant les deux points de fixations du train arrière en déposant puis en reposant les vis l'une après l'autre.

Déposer la sonde à oxygène aval (après le catalyseur).
Désolidariser le tube d'échappement de la descente d'échappement, prévoir le remplacement du joint.
Sur la motorisation L7X, déposer le pot de détente.
Déposer :

Débrancher le tuyau d'anti-refoulement (1).
Déposer le collier (2) de la goulotte de remplissage, prévoir le remplacement du collier par un collier neuf.

Déposer les vis de fixation du réservoir.
A l'aide d'une deuxième personne, déposer le réservoir en le faisant basculer sur l'avant du véhicule et ensuite en le faisant pivoter autour de l'axe du tube d'échappement.

REPOSE
Procéder à la repose en sens inverse de la dépose.
Prendre soin de ne pas pincer les tuyaux (risque de fuite).
Monter les raccords rapides à la main et s'assurer de leur bon encliquetage.
Prendre soin de reposer correctement l'écran thermique.
Remplacer le joint de la descente d'échappement et le collier de la goulotte de remplissage.
Serrer les vis de fixation du réservoir à 2,1 daN.m.
Serrer la sonde à oxygène à 4,5 daN.m.
Serrer les vis de train arrière à 8 daN.m.
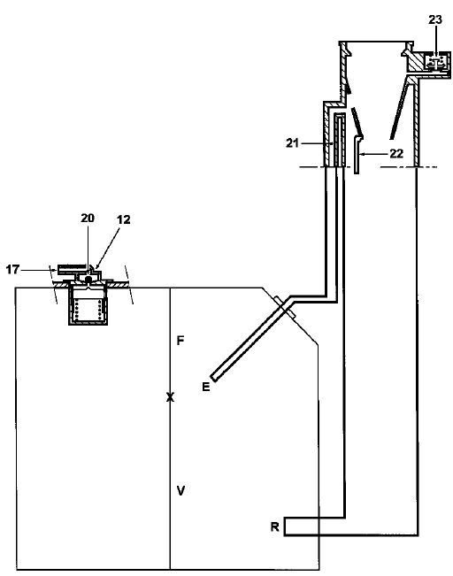
VERSION ESSENCE

VERSION ESSENCE



Nomenclature
E. Orifice d'évacuation de l'air durant le remplissage.
F. Volume d'air permettant au carburant de se dilater.
R. Orifice de remplissage de carburant.
V. Volume de carburant utile.
ROLE DES CLAPETS
23. Clapet de sécurité surpressiondépression (uniquement sur les versions essence)
En cas d'obturation du circuit de recyclage des vapeurs d'essence, ce clapet évite que le réservoir ne se mette en surpression (le réservoir gonfle) ou en dépression (par consommation du carburant, le réservoir s'écrase).
22. Clapet de restriction
Ce clapet interdit l'introduction d'essence plombée ou de gazole dans le réservoir.
12 et 13. Clapet d'interdiction de surremplissage et clapet anti-fuite au retournement du véhicule
Le clapet d'interdiction de sur-remplissage (12) fonctionne grâce à la bille (20).
Véhicule au repos, lors du remplissage, la bille est en appui sur son siège, emprisonnant ainsi un volume d'air dans le réservoir.
Véhicule en mouvement, la bille (20) quitte son siège, permettant ainsi de mettre en liaison le réservoir et l'absorbeur des vapeurs d'essence.
Il est impératif, réservoir plein qu'un volume d'air demeure dans le réservoir pour permettre à l'essence contenue dans celui-ci de se dilater, sans pour autant faire exploser le réservoir.
Le clapet anti-fuite au retournement du véhicule évite que le réservoir se vide par le conduit allant à l'absorbeur des vapeurs d'essence ou par le conduit de mise à l'air libre (diesel).
Le réservoir possède un bouchon du type étanche.
La goulotte de remplissage pour carburant sans plomb possède :
Reservoir
Goulotte de remplissagePompe à eau
MOTEURS F4P-K4M
DEPOSE
Mettre le véhicule sur un pont élévateur à deux
colonnes.
Débrancher la batterie.
Vidanger le circuit de refroidissement par la Durit
inférieure de radiateur moteur.
Déposer :
la courroie de distribution (vo ...
Effets client
Seul le tableau de bord haut de gamme (avec afficheur en position centrale) a
un diagnostic.
Par contre, les deux types de tableaux de bord possèdent un auto-test.
CONSIGNES
Faire un diagnostic du réseau multiplexé.
Dans le cas d'un tableau haut de gamme (avec afficheu ...
Préliminaire
Ce document présente le diagnostic applicable sur les calculateurs "Lampe
à décharge" équipant la
LAGUNA.
Pour entreprendre un diagnostic de ce système il est impératif de disposer des
éléments suivants :
La Note Technique ...