Manuel du conducteur
PRÉSENTATION

GENERALITES
Selon la norme Européenne, ces véhicules seront obligatoirement équipés d'un système de réglage automatique de la hauteur des projecteurs en fonction de l'assiette du véhicule et de lave-projecteurs.
ATTENTION : il est interdit de monter un projecteur équipé de lampe à décharge sur une version non conçue pour recevoir ce dispositif.
Lampes au Xénon :
Ces lampes ne contiennent pas de filament.
La lumière de ces lampes est générée à partir de deux électrodes dans une ampoule de quartz comprenant un gaz à pression élevé (du Xénon).
Le module électronique ou Ballast, intégré dans le projecteur est alimenté par la batterie (12 volts) du véhicule et génère une tension contrôlée de 20 000 volts à l'allumage puis une tension alternative de 85 volts alternatif en état stabilisé.
Correction automatique du réglage des projecteurs en fonction de l'assiette du véhicule :
Le système de correction automatique doit permettre (lors d'une variation de charge du véhicule), de conserver une hauteur de faisceau constante par rapport à la valeur de réglage initial réalisé en usine ou par le réseau après-vente.
Ce système peut être diagnostiqué par les outils de diagnostic.
A chaque effacement de défaut, les actionneurs effectuent un mouvement vers le bas.
DESCRIPTION
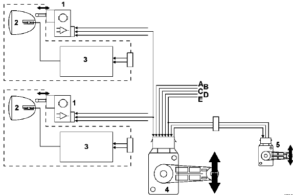
Le système comprend




NOTA : l'information vitesse véhicule est utilisée pour modifier la hauteur du faisceau à haute vitesse.

Schéma de principe

Schéma de principe
CAPTEUR DE HAUTEUR ARRIERE
DEPOSE
Déposer la roue arrière gauche.
Déclipser :
Débrancher le connecteur et déposer le capteur avec son support.
Désolidariser le capteur de son support par les vis (2).

REPOSE
IMPORTANT : après avoir remonté le capteur, il est nécessaire de procéder à l'initialisation du système et au réglage des projecteurs (voir chapitre "initialisation").
Branchement

CAPTEUR AVANT/CALCULATEUR
DEPOSE
Déposer la roue avant gauche.
Déclipser la rotule (A) reliée au triangle inférieur, et dévisser les vis de fixation (B).
Débrancher le connecteur et déposer le capteur.

REPOSE
IMPORTANT : après avoir remonté le capteur avant/ calculateur, il est nécessaire de procéder à l'initialisation du système et au réglage des projecteurs (voir chapitre "initialisation").
Branchement

IMPORTANT : après remplacement du capteur avant / calculateur, il est nécessaire de configurer le type de véhicule à l'aide des outils de diagnostic et de procéder à l'initialisation du système.
PROJECTEURS
La méthode de dépose/repose des projecteurs équipés de lampes au Xénon est identique à la méthode pour les projecteurs tous types.
ATTENTION : les lampes au Xénon fonctionnent sous une tension de 20 000 volts à l'allumage puis de 85 volts alternatif en fonctionnement.
Il est donc impératif de débrancher le bloc optique et d'attendre que le calculateur (Ballast) soit froid avant le démontage.
Il est interdit d'allumer la lampe si celle-ci n'est pas positionnée dans le bloc optique (dangereux pour les yeux).

NOTA : les numéros des voies se lisent de droite à gauche sur tous les projecteurs.
ACTIONNEURS
DEPOSE
Déposer le cache style et déplacer le réservoir de liquide de direction assistée (si besoin).
Débrancher le connecteur de l'actionneur.
Serrer la vis de réglage (A) (six tours maximum).

Tourner l'actionneur d'un huitième de tour vers l'extérieur pour le dégager du bloc optique.
Désaccoupler la rotule de la parabole en basculant légèrement l'actionneur.
NOTA : la dépose de l'actionneur ne nécessite pas la dépose du projecteur.
REPOSE
Lors du montage d'une pièce neuve, serrer la vis de réglage de l'actionneur de six tours.
Pour faciliter la repose de l'actionneur, déposer le cache étanche et tenir le réflecteur du projecteur.
Desserrer la vis de réglage (six tours).
IMPORTANT : après avoir déposé les actionneurs, il est nécessaire de procéder à l'initialisation du système et au réglage des projecteurs (voir chapitre "initialisation").

NOTA : les actionneurs des projecteurs équipés de lampes au Xénon sont spécifiques.
REMARQUE : si les feux de croisement sont allumés à la mise du contact, les actionneurs se positionnent en réglage bas puis reviennent à une position intermédiaire.
LAMPE AU XENON
DEPOSE
ATTENTION : les lampes au Xénon fonctionnent sous une tension de 20 000 volts à l'allumage puis de 85 volts alternatif en fonctionnement.
Il est donc impératif de débrancher le bloc optique et d'attendre que le calculateur (Ballast) soit froid avant le démontage.
Il est interdit d'allumer la lampe si celle-ci n'est pas positionnée dans le bloc optique (dangereux pour les yeux).
Débrancher le connecteur de la lampe en le tournant d'un quart de tour dans le sens inverse des aiguilles d'une horloge.
Déposer la lampe en déclipsant les agrafes de maintien.

ATTENTION : la lampe ne doit subir aucun choc car le conducteur externe (1) est très fragile et ne doit pas être déformé.
REPOSE
Prendre la lampe par son culot (ne pas toucher l'ampoule avec les doigts, sinon la nettoyer avec de l'alcool et un chiffon doux non pelucheux).
Positionner la lampe. L'ergot (2) doit être en face de la gorge du projecteur.
Positionner le connecteur de la lampe en le tournant d'un quart de tour.
NOTA : la dépose de la lampe ne nécessite pas la dépose du projecteur.
IMPORTANT : après le remplacement d'une lampe au Xénon, il est nécessaire de procéder à l'initialisation du système et au réglage des projecteurs (voir chapitre "initialisation").
Pour le remplacement des lampes de feux de route et des lampes des feux de croisement, la méthode est identique au projecteur classique.

BOITIER ELECTRONIQUE (BALLAST)
ATTENTION : les lampes au Xénon fonctionnent sous une tension de 20 000 volts à l'allumage puis de 85 volts alternatif en fonctionnement.
Il est donc impératif de débrancher le bloc optique et d'attendre que le calculateur (Ballast) soit froid avant le démontage.
Il est interdit d'allumer la lampe si celle-ci n'est pas positionnée dans le bloc optique (dangereux pour les yeux).
DEPOSE
Déposer le projecteur concerné, Placer le projecteur sur un chiffon propre afin de ne pas le rayer.
Débrancher le connecteur de la lampe en le tournant d'un quart de tour dans le sens inverse des aiguilles d'une horloge.
Déposer les vis (A) à emprunte étoile et ergot.

Débrancher l'alimentation du boîtier électronique (B).

REPOSE
Remplacer impérativement le joint à chaque démontage du boîtier électronique.
Respecter le couple de serrage du boîtier électronique (couple de 1,3 N.m).
Respecter le cheminement du câblage à haute tension.
IMPORTANT : après avoir déposé un boîtier électronique (Ballast), il est nécessaire de procéder à l'initialisation du système et au réglage des projecteurs (voir chapitre "initialisation").
INITIALISATION DU SYSTEME ET REGLAGE DES PROJECTEURS
Cette procédure est à réaliser après toute opération sur un projecteur, sur un capteur ou sur un élément des trains roulants.
Mettre le véhicule sur une aire plane.
IMPORTANT : ne pas serrer le frein de parking.
S'assurer que le véhicule soit à vide au plein de carburant près, ne pas monter dans le véhicule pendant la durée de l'opération.
Vérifier la pression des pneus et ouvrir le capot.
Brancher les outils de diagnostic et vérifier l'absence de défaut.
Mettre le contact, allumer les feux de croisement sélectionner et valider le calculateur.
Lancer la commande : "AC 010 : Calibration Calculateur".
REMARQUE :
Il est possible de vérifier que le système soit initialisé :
Sans couper le contact, à l'aide d'un régloscope, procéder au réglage en hauteur par la vis (D) et en direction par la vis (E).
IMPORTANT : l'assiette du véhicule ne doit pas changer entre l'initialisation et le réglage des projecteurs. Ces deux opérations sont indissociables.

IMPORTANT : l'initialisation du système est impossible :
Feux de brouillardTraverse sous plancher arrière
Le remplacement de la traverse sous plancher arrière
est une opération complémentaire au longeron arrière
pour une collision arrière ou plancher arrière partie
avant pour une collision latérale arrière.
Les informations concernant les pi& ...
Gestes simples pour votre sécurité
Attachez toujours
votre
ceinture de sécurité,
même pour les
petits trajets
même si votre véhicule
est équipé d'airbags.
Assurez vous que tous les
passagers ont bouclé leur
ceinture, même à l'arrière.
...
Effets clients
Faire un
diagnostic de la "gestion des portes".
Vérifier que les ouvertures de chacune des portes et du hayon soient bien
détectées.
Ainsi que les fermetures.
Vérifier que les appuis sur les boutons de la carte soient bien détectés
( ...