Manuel du conducteur
Le remplacement de cette pièce est une opération complémentaire au remplacement de la fermeture de bas de caisse ou du passage de roue intérieur pour une collision latérale arrière.
Cette opération s'effectue suivant deux possibilités (voir méthode ci-après) :
Pour effectuer l'opération, il est indispensable de dégrafer la fermeture latérale de longeron arrière qui sera à commander en supplément.
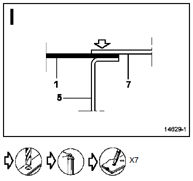
NOTA : pour le remplacement partiel qui s'effectue par superposition des tôles, le nombre de points de bouchonnage n'est pas précisé dans la méthode.
Il sera nécessaire de respecter un écart d'environ 60 mm entre les points de soudure.
Dans la méthode décrite ci-après vous ne trouverez que les descriptions et liaisons spécifiques à la pièce concernée.
Les informations concernant les pièces complémentaires seront traitées dans leurs chapitres respectifs (voir sommaire).
COMPOSITION DE LA PIECE M.P.R.
Pièce assemblée avec :
Renforts
Crochet intérieur

PIECES CONCERNEES (épaisseur en mm) :
Plancher arrière partie avant - 0.7
Traverse avant de plancher arrière - 1.2
Fermeture de traverse avant de plancher arrière - 1
Longeron arrière - 1.8
Remplacement partiel

 sur pièce MPR
 sur pièce MPR
 sur véhicule
 sur véhicule





Remplacement complet






 Fermeture de traverse avant de plancher
arrière
Fermeture de traverse avant de plancher
arrière Traverse sous plancher arrière
Traverse sous plancher arrièreTraverse extrême arrière
   Le remplacement de cette pièce est une opération
complémentaire au remplacement de la jupe pour une
collision arrière.
Dans la méthode décrite ci-après vous ne trouverez
que les descriptions et liaisons spécifiques à la pièc ...
   
Vitres de porte arrière
   
DEPOSE
Après avoir déposé la garniture intérieure
(chapitre 72.B),
déposer le lécheur intérieur de vitre (A) et l'agrafe de
fixation de vitre (B).
Dégager la vitre de l'axe du chariot d'entraînement
Faire reposer la vitre au ...
   
Radiateur
   
DEPOSE
Mettre le véhicule sur un pont élévateur à deux
colonnes.
Déposer la batterie ainsi que la protection sous
moteur.
Vidanger le circuit de refroidissement par la Durit
inférieure sur le radiateur.
Déposer :
	la platine à r ...