Manuel du conducteur
Le remplacement de cette pièce est une opération complémentaire au remplacement de la jupe arrière ou d'un longeron arrière pour une collision arrière.
Cette opération s'effectue suivant deux possibilités (voir méthode ci-après) :
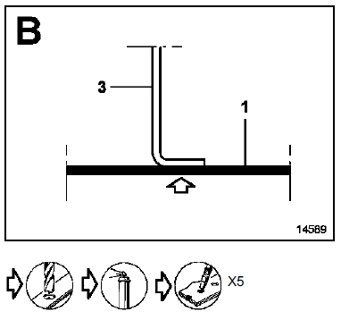
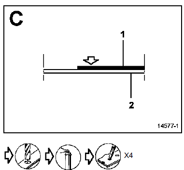
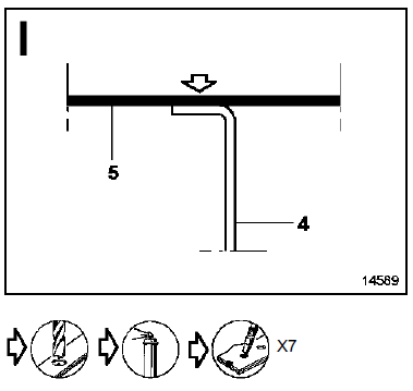
NOTA : pour le remplacement partiel qui s'effectue par superposition des tôles, le nombre de points de bouchonnage n'est pas précisé dans la méthode.
Il sera nécessaire de respecter un écart d'environ 60 mm entre les points de soudure.
Dans la méthode décrite ci-après vous ne trouverez que les descriptions et liaisons spécifiques à la pièce concernée.
Les informations concernant les pièces complémentaires seront traitées dans leurs chapitres respectifs (voir sommaire)
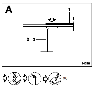
COMPOSITION DE LA PIECE M.P.R
Pièce assemblée avec :
Renfort de fixation roue de secours
Vis soudée
Rivet

PICES CONCERNES (épaisseeur en mm) :
Complète








Remplacement partiel

sur pièce MPR
sur véhicule




Unit arrièreInterprétation des défauts
CALCULATEUR
1.DEF : Changer le calculateur.
CONSIGNES
Conditions d'application du diagnostic sur défaut mémorisé :
Si le défaut réapparaît présent suite à :
un effacement du défaut,
une coupure du contact et une mise du contact ...
Correction du régime de ralenti
Moteurs K4M - F4P
CORRECTION DU REGIME DE RALENTI EN FONCTION DE LA TEMPERATURE D'EAU
CORRECTION ELECTRIQUE EN FONCTION DE LA TENSION BATTERIE ET DU BILAN
ELECTRIQUE
Cette correction a pour but de compenser la baisse de tension due à la mise
en marche de consommateur lorsque ...
Interprétation des défauts
DEFAUT
CALCULATEUR
1.DEF : Erreur EEPROM
2.DEF : Erreur RAM
3.DEF : Erreur ROM
CONSIGNES
Particularités :
Le défaut 1 DEF erreur EEPROM n'empêchera pas le système de
fonctionner des
valeur par défaut seront utilisés.
Si défaut 3 DEF ...