Manuel du conducteur
Le remplacement de cette pièce est une opération de base.
Dans la méthode décrite ci-après vous ne trouverez que les descriptions et liaisons spécifiques à la pièce concernée.
RAPPEL : tous les points de soudures électriques par résistance sont accessibles et donc réalisables en réparation, ils ne seront donc pas précisés dans la méthode.
Vous trouverez uniquement les zones d'encollage du pavillon, Il sera nécessaire d'utiliser une colle de calage type MJPro (référence : 77 11 172 676) pour l'opération.
Les informations concernant les pièces complémentaires seront traitées dans leurs chapitres respectifs (voir sommaire).
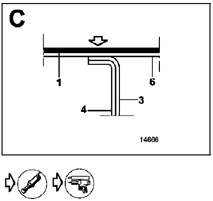
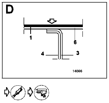
COMPOSITION DE LA PIECE M.P.R.
Pièce assemblée avec :

PIECES CONCERNEES (épaisseur en mm) :


















Dessus de caisse
Traverse avant de pavillonContrôle - Réglage du train avant
ORDRE CHRONOLOGIQUE DES OPERATIONS
De par la conception géométrique des trains avant,
une modification de l'un des angles (chasse,
carrossage, pivot, parallélisme et variation) a des
répercussions plus ou moins importantes sur la valeur
des autres angles (l'angle de ...
Aide au parking
Principe de fonctionnement
Des détecteurs à ultrasons, implantés
(suivant véhicule) dans le bouclier arrière
et/ou avant du véhicule, " mesurent
" la distance entre le véhicule et un
obstacle.
Cette mesure se traduit par des bips
sonores dont ...
Renfort de fixation traverse extrême avant
Le remplacement de cette pièce est une opération
complémentaire liée au remplacement de la fermeture
de longeron avant pour une collision avant.
Dans la méthode décrite ci-après vous ne trouverez
que les descriptions et liaisons spécifiqu ...