Manuel du conducteur
Le remplacement de cette pièce est une opération complémentaire au remplacement de la fermeture de bas de caisse pour une collision latérale.
Cette opération s'effectue suivant deux possibilités (voir méthode ci-après) :
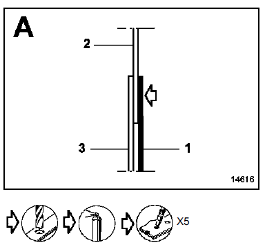
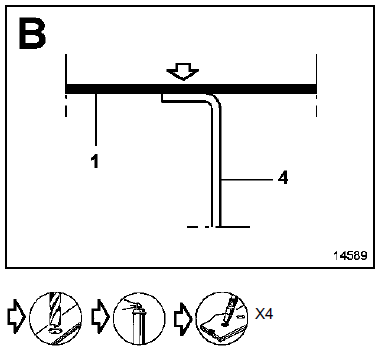
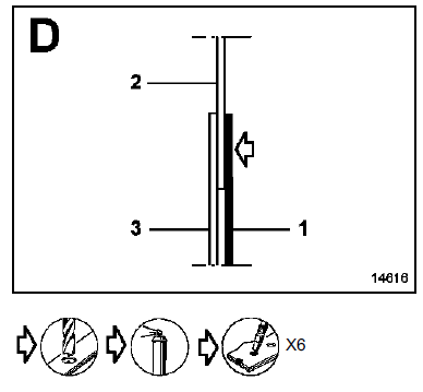
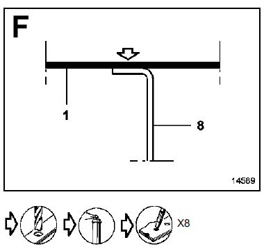
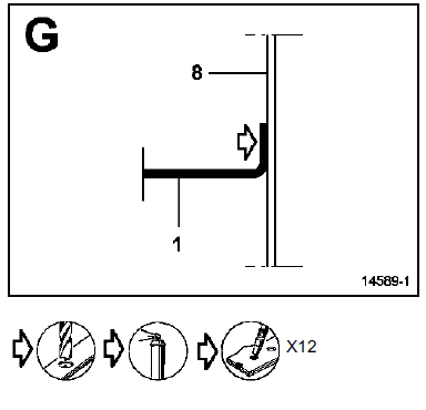
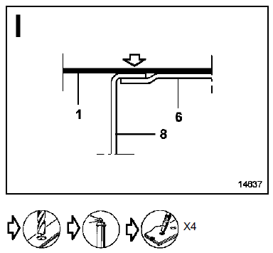
NOTA : pour le remplacement partiel qui s'effectue par superposition des tôles, le nombre de points de bouchonnage n'est pas précisé dans la méthode.
Il sera nécessaire de respecter avec un écart d'environ 60 mm entre les points de soudure.
Dans la méthode décrite ci-après vous ne trouverez que les descriptions et liaisons spécifiques à la pièce concernée.
Les informations concernant les pièces complémentaires seront traitées dans leurs chapitres respectifs (voir sommaire).
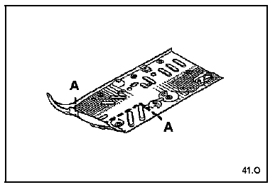
COMPOSITION DE LA PIECE M.P.R.
Pièce assemblée avec :
Support tube de frein

PIECES CONCERNEES (épaisseur en mm) :
Remplacement partiel

sur pièce MPR
sur véhicule



Remplacement complet


















Renfort boîtier de fixation berceau
TunnelSécurité pneumatiques
Les pneumatiques constituent le seul
contact entre le véhicule et la route, il
est donc essentiel de les tenir en bon
état.
Vous devez impérativement vous
conformer aux règles locales prévues
par le code de la route.
Lorsqu'il y a nécessit&ea ...
Verrou électrique de colonne de direction
VERROU ELECTRIQUE DE COLONNE DE
DIRECTION
PRECAUTIONS POUR LA REPARATION
Pour permettre le non-blocage du volant lors d'un
débranchement de la batterie, il faut :
enfoncer la carte Renault à fond (+ Après contact)
puis le retirer au 1er cran, (+ Accessoires). La
colo ...
Coffre à bagages
Version berline
Version berline
Pour ouvrir
Pressez le bouton 1 et soulevez la
porte de coffre.
Pour fermer
Abaissez la porte de coffre en vous
aidant, dans un premier temps, des poignées
intérieures 3.
Version break
Version break
Pour ouvrir
Pressez le bouton 2 ...