Manuel du conducteur
Le remplacement de cette pièce est une opération complémentaire au remplacement du renfort de fixation de traverse extrême avant et du passage de roue partie avant pour une collision avant.
Cette opération peut s'effectuer suivant deux possibilités :
Dans la méthode décrite ci-après vous ne trouverez que les descriptions et liaisons spécifiques à la pièce concernée.
L'utilisation du banc de réparation est indispensable.
Les informations concernant les pièces complémentaires seront traitées dans leurs chapitres respectifs (voir sommaire).
COMPOSITION DE LA PIECE M.P.R.
Pièce assemblée avec :
Renfort de longeron
Support moteur
Support traverse
Support boîte (côté gauche)
Support batterie (côté gauche)
Renfort intérieur
Couple choc
Entretoise de fixation berceau
Centreur
Ecrous sertis

PIECES CONCERNEES (épaisseur en mm) :
Remplacement partiel


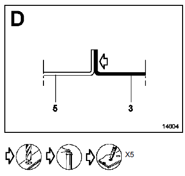
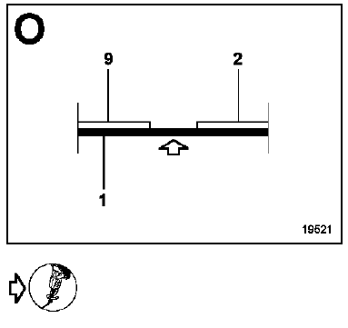
NOTA : attention à préserver le renfort (2) lors de l'opération.

IMPORTANT : la coupe s'effectue derrière la ligne de raboutage.
Remplacement complet











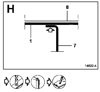
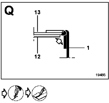
IMPORTANT : afin d'éviter la dépose du support pédalier (collé), les points de soudure au niveau de la section (K) doivent être épargnés. Il sera nécessaire d'effectuer une découpe dans l'angle du retour de tôle (voir section K). Cette opération est à réaliser aussi sur la pièce de rechange.




NOTA : cette découpe est nécessaire pour faciliter le dégrafage des points précédents.
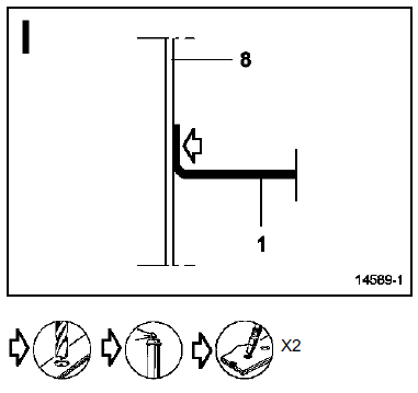
Celle-ci s'effectue entre le renfort de longeron (2) et le longeron avant partie centrale (9).



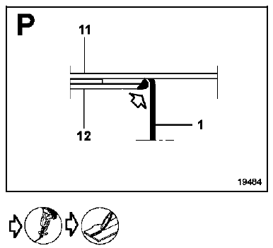
IMPORTANT : la découpe des deux retours de tôle
et
est nécessaire pour déposer le
longeron.
Ces opérations sont à réaliser aussi sur le longeron du Magasin des Pièces de Rechange pour effectuer un cordon comme indiqué sur le dessin.
Taverse latérale extrême avant
Elément de fixation traverse supérieure
avantSatellite de commande de radio
BRANCHEMENT
La commande d'autoradio au volant est raccordée :
à l'afficheur central de planche de bord
à l'Unité Centrale de Communication si le véhicule est équipé du système
d'aide à la navigation Carminat (consulter le ch ...
Accessibilité pour les véhicules équipés d'un hautparleur dans le coffre
côté gauche
Depuis le coffre, dégagez la moquette
latérale.
Desserrez les trois vis 15, 16 et 17
puis, dégagez le haut-parleur.
Nota : pour les versions 5 portes, saisissez
le caisson à deux mains, ramenez
la partie haute du caisson vers
vous tout en maintenant la fixati ...
Verrouillage , déverrouillage des ouvrants
Verrouillage/déverrouillage
des portes de l'extérieur
Celui-ci se fait à l'aide de la carte
RENAULT : reportez-vous aux paragraphes
" Cartes RENAULT " en chapitre
1.
Dans certains cas, la carte RENAULT
peut ne pas fonctionner :
usure de la pile de la carte RENAULT,
...