Manuel du conducteur
Le remplacement de cette pièce est une opération de base pour une collision arrière.
Pour effectuer cette opération, il sera nécessaire de commander en supplément les deux inserts gonflants latéraux.
IMPORTANT :
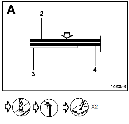
La jupe est assemblée en première monte dans l'ordre suivant :
Lors du dégrafage, pour accéder à tous les points de soudure la dépose de ces éléments se fera dans l'ordre inverse :
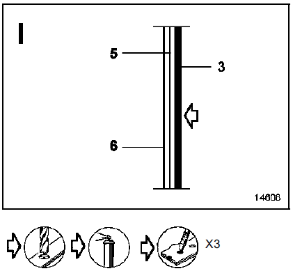
Il sera nécessaire de dégrafer les deux renforts intérieurs de la jupe MPR afin de respecter le même ordre d'assemblage que la première monte : Soudage des renforts intérieurs (1 et 2) puis soudage de la jupe.
Dans la méthode décrite ci-après vous ne trouverez que les descriptions et liaisons spécifiques à la pièce concernée.
Les informations concernant les pièces complémentaires seront traitées dans leurs chapitres respectifs (voir sommaire).
COMPOSITION DE LA PIECE M.P.R.
Pièce assemblée avec :

PIECES CONCERNEES (épaisseur en mm) :





Renfort intérieur gauche



ATTENTION : il sera nécessaire de réaliser un calage lors de la repose avec de la colle de structure sur le pourtour de la pièce.
Cette opération permet de rattraper l'écart entre la tôle du renfort et la traverse extrême arrière et d'éliminer les risques de bruyance possibles.
Renfort intérieur droit





RAPPEL : Il sera nécessaire de remplacer les deux inserts gonflant (J), (voir méthode décrite dans le chapitre 43 A).
Traverse support absorbeur
Traverse extrême arrièreRotule axiale
Le remplacement de la rotule axiale s'effectue boîtier de direction en place
sur le véhicule. En effet, l'outil permet le desserrage des rotules
axiales à travers le passage de roue.
Mettre le véhicule sur un pont à deux colonnes.
DEPOSE
D&e ...
Arbres de localisation de pannes
Une ou plusieurs
des aiguilles ne bouge(nt) pas.
Une ou plusieurs des aiguilles ne respecte(nt) pas les
graduations.
L'affichage sur ordinateur de bord ou l'afficheur central est
incomplet ou brouillé
Certaines données de l'ordinateur de bord sont erronées
Certaines ...
Combinatoires des chocs
Combinatoires des pièces de rechange en fonction des chocs
AVANT
CENTRALE
LATERALE ARRIERE
ARRIERE
CHOC AVANT
OPERATION DE BASE
OPERATIONS COMPLEMENTAIRES PREMIER DEGRE
OPERATIONS COMPLEMENTAIRES DEUXIEME DEGRE
CHOC LATERAL
OPERATION DE BASE CHOC LATE ...