Manuel du conducteur
Le remplacement de cette pièce est une opération de base pour une collision arrière.
C'est un élément de structure démontable.
NOTA : vous trouverez uniquement décrites dans la méthode les opérations de réglage pour les deux versions.
RAPPEL : les informations concernant les pièces complémentaires seront traitées dans leurs chapitres respectifs.
Tous les jeux et les af fleurements sont indiqués dans le chapitre 40.
Pour la réparation du hayon du break (composite polyester), se reporter au Manuel de Réparation 502.
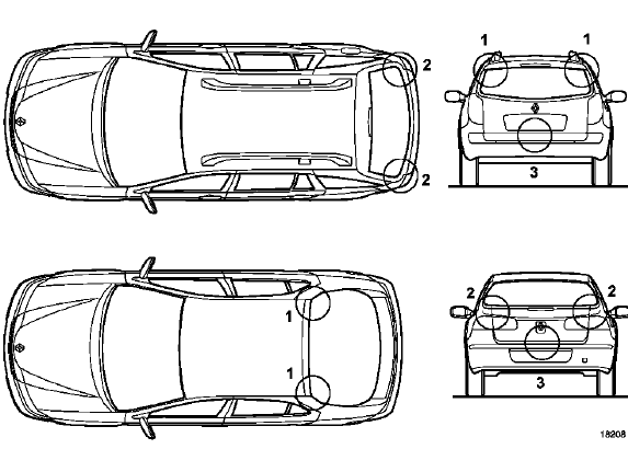
Version berline

Version break

Zones de reglage

Preparation avant reglage
Positionner le hayon sur le véhicule, (un deuxième opérateur est nécessaire pour cette opération).
Approcher toutes les fixations sans serrer.
Rappel : avant la repose définitive, il sera nécessaire de refaire l'étanchéité entre la traverse extrême arrière de pavillon et les charnières avec du mastic de bourrage.
Ordre de reglage
Version berline

1.Réglage : hayon/pavillon/panneau d'aile arrière (partie haute et basse) :
Assurer les jeux et l'affleurement de la zone 1 (vis A des charnières supérieures).
Contrôler le réglage.
Serrer en position.
Rappel : avant de commencer la gamme de réglages, il sera nécessaire de desserrer les fixations de la gâche et de la serrure, afin de ne pas créer de contrainte en position fermée, lors du contrôle des jeux périphériques.
Dans tous les cas commencer toujours par régler les appuis au niveau des charnières.
NOTA : le ciel de pavillon de la version de base n'est pas prépercé au niveau des vis de fixation des charnières supérieures.
Il sera nécessaire d'écarter celui-ci comme indiqué sur le dessin pour passer l'outil (cliquet radio) z1 : 100 mm
Version break

Version berline


2.Réglage : hayon/ panneau d'aile arrière (partie basse) :
Assurer l'affleurement de la zone 2 et3 (vis b de la serrure et c de la gâche).
La suppression du talonnage et le réglage de la dureté de fermeture s'effectuent lors de cette opération.
Ces réglages ne doivent pas influer sur les jeux périphériques réglés précédemment.
Version break


Version berline


3.Réglage de finition :
Eliminer le jeu entre le hayon et l'encadrement (butée D).
Pour la méthode de positionnement des cales, se référer au Manuel de Réparation 313 page 48-7.
Version break


Capot avantPrééquipement radio
Si votre véhicule n'est pas équipé d'une
radio, vous disposez d'un prééquipement
composé d'emplacements pour :
la radio 1 ;
des haut-parleurs d'aigus 2 ;
des haut-parleurs de graves 3.
Pour l'installation d'un équipement,
consultez u ...
Système de surveillance de pression des pneumatiques
Lorsque le véhicule en est équipé, ce
système surveille la pression de gonflage
des pneumatiques.
Principe de fonctionnement
Chaque roue (sauf la roue de secours)
comporte un capteur dans la valve de
gonflage qui mesure périodiquement la
pression du pneumati ...
Correction du régime de ralenti
Moteurs K4M - F4P
CORRECTION DU REGIME DE RALENTI EN FONCTION DE LA TEMPERATURE D'EAU
CORRECTION ELECTRIQUE EN FONCTION DE LA TENSION BATTERIE ET DU BILAN
ELECTRIQUE
Cette correction a pour but de compenser la baisse de tension due à la mise
en marche de consommateur lorsque ...