Manuel du conducteur
Le remplacement de cette pièce est une opération de base.
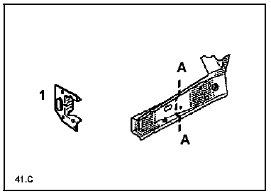
Pour effectuer cette opération, il sera nécessaire de commander en supplément le renfort de fixation de traverse extrême avant (1).
Cette opération peut s'effectuer suivant deux possibilités :
Dans la méthode décrite ci-après vous ne trouverez que les descriptions et liaisons spécifiques à la pièce concernée
IMPORTANT :
La fermeture de longeron avant est composée de deux tôles d'épaisseurs différentes raboutées (soudées) ensemble.
C'est juste derrière cette ligne de raboutage que s'effectue la coupe partielle A-A.
L'utilisation du banc de réparation est indispensable pour le remplacement de cette pièce.
Les informations concernant les pièces complémentaires seront traitées dans leurs chapitres respectifs (voir sommaire)
COMPOSITION DE LA PIECE M.P.R.
Pièce assemblée avec :
Renfort intérieur
Elément de fermeture
Ecrous sertis

PIECES CONCERNEES (épaisseur en mm) :
Remplacement partiel
Remplacement complet
Renfort de fixation traverse extrême avant
Taverse latérale extrême avantEclaireur de bas de planche de bord
Les véhicule possèdent des lampes d'éclaireurs de
bas de planche de bord et d'éclaireurs sous les sièges
avant couplés au plafonnier. Il sont situés :
sous le vide-poches (côté passager),
sous le volant (1),
sous les sièg ...
Cylindre émetteur d'embrayage
DEPOSE
Débrancher la batterie
Dans l'habitacle
Désaccoupler la rotule de l'émetteur de la pédale de
débrayage.
Dans le compartiment moteur
Vidanger le réservoir de liquide de frein jusqu'à ce que
le niveau soit sous l'orifice d'alimentation de ...
Planche de bord
IMPORTANT : toutes les interventions sur les
systèmes airbags et prétensionneurs doivent être
effectuées par du personnel qualifié ayant reçu
une formation.
ATTENTION : il est interdit de manipuler les
systèmes pyrotechniques (airbags et
pr&eacut ...