Manuel du conducteur
Moteurs F4P - K4M


DEPOSE
Mettre le véhicule sur un pont à deux colonnes.
Débrancher la batterie.
Vidanger la boîte de vitesses.
Déposer :
Dégrafer le faisceau électrique du support batterie.
Déposer :


Côté gauche du véhicule :
Déposer :


Prendre soin de protéger les soufflets.

Côté droit du véhicule :
Déposer :
Desserrer la fixation inférieure (4) du pied d'amortisseur.

Déposer la fixation sur le palier intermédiaire.

Basculer le porte-fusée et désaccoupler la transmission.

Déposer :




Vidanger le réservoir de liquide de frein à l'aide d'une seringue jusqu'au raccord du tuyau d'émetteur d'embrayage.
Débrancher le récepteur d'embrayage.
Déposer les fixations du démarreur.

Dégager le démarreur en arrière.
Mettre en place le suppor t moteur Mot. 1453.

Déposer :
Incliner le groupe motopropulseur.
Mettre en place le verin d'organes.
Déposer :
REPOSE
S'assurer de la présence des douilles de centrage moteur-boîte de vitesses.
ATTENTION :
Ne pas enduire les cannelures de l'arbre d'embrayage.
Pour la suite des opérations procéder en sens inverse de la dépose.
Effectuer le remplissage du réservoir de liquide de frein.
Purger le système d'embrayage.
Effectuer le remplissage de la boîte de vitesses.
ATTENTION :
Fixer correctement les tuyaux de frein sur les amortisseurs.
Moteur F9Q


DEPOSE :
Mettre le véhicule sur un pont à deux colonnes.
Débrancher la batterie.
Déposer :
Dégrafer le faisceau électrique du support batterie.
Déposer :
Dégager le calculateur d'injection avec son support sur le côté.

Déposer :


Vidanger la boîte de vitesses.
Déposer :

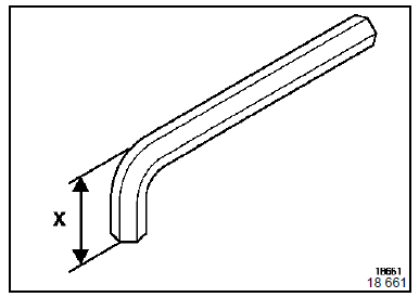
X = 25 mm
Déposer :

Côté gauche du véhicule :
Déposer :
Prendre soin de protéger les soufflets.

Côté droit du véhicule :
Déposer :


Vidanger le réservoir de liquide de frein à l'aide d'une seringue jusqu'au raccord du tuyaux d'émetteur d'embrayage.
Débrancher le récepteur d'embrayage (2).

Déposer :

Dégager le démarreur en arrière.
Attacher les faisceaux électriques et les canalisations hydrauliques pour faciliter la dépose de la boîte de vitesses.
Mettre en place le suppor t moteur Mot. 1453.

Déposer :
Incliner le groupe motopropulseur.
Mettre en place le verin d'organes.
Déposer :
REPOSE
Si l'embrayage a été déposé se reporter au chapitre 20.
S'assurer de la présence des douilles de centrage moteur-boîte de vitesses.
ATTENTION :
Ne pas enduire les cannelures de l'arbre d'embrayage.
Ecarter les faisceaux électriques et retirer le plot de centrage du faisceau sur la boîte de vitesses.

Remonter le support de boîte de vitesses en suivant l'ordre de serrage des vis de fixation.

Pour la suite des opérations procéder en sens inverse de la dépose.
Reposer le tirant transversal avant les tirants gauche et droit.
Effectuer le remplissage :
Purger le système d'embrayage.
ATTENTION : Fixer correctement les tuyaux de frein sur les pieds d'amortisseur.
Particularités
Pignonnerie de 5ème sur véhiculePréliminaire
Ce diagnostic générique est valable pour la fonction direction assistée de
la Laguna.
Il s'agit des véhicules équipés de la direction assistée variable.
Le calculateur réalisant la fonction est l'Unité Centrale Habitacle.
Les ...
Collecteurs
Moteur F9Q
DEPOSE
REMARQUE : la dépose des collecteurs impose la
dépose du turbocompresseur (voir chapitre 12
"Suralimentation"). Les deux collecteurs ne peuvent
pas être déposés séparément.
Débrancher :
la batterie,
le t ...
Pompe haute pression
IL EST INTERDIT DE DEMONTER L'INTERIEUR DE LA POMPE
Pour pompe d'injection CP3
Pour pompe d'injection CP1
ATTENTION : Avant toute intervention, brancher
l'outil de diagnostic après-vente, entrer en dialogue
avec le calculateur d'injection et vérifier que la ...