Manuel du conducteur
PARTICULARITES
Pour toute intervention sur ce système, ce numéro de code de réparation pourra être demandé au réseau d'assistance local (Consulter la note technique 3315E).
Pour toute demande de numéro de code, il est désormais impératif de fournir le numéro de VIN du véhicule ainsi que son numéro de fabrication.
Ceci permet à l'opérateur d'identifier le véhicule afin de donner le bon code.
Il ne peut pas comporter plusieurs cartes RENAULT avec la fonction main-libre.
En effet, lors de leur remplacement, il ne sera pas possible de coder ces éléments si aucun d'eux ne possèdent le code d'origine du véhicule en mémoire (voir tableau d'affectation).
GENERALITES
Il s'agit d'un antidémarrage commandé par un système de reconnaissance de carte RENAULT à code évolutif aléatoire.
Une électronique codée (fonctionnant sans pile) indépendante de la fonction télécommande est intégrée dans chaque carte RENAULT du véhicule.
L'antidémarrage est activé quelques secondes après le retrait de la carte RENAULT du lecteur de carte. Il pourra être visualisé par le clignotement du voyant lumineux rouge situé sur le tableau de bord et par le blocage du verrou électronique de colonne.
Lors de sa fabrication, un code de douze caractères hexadécimaux est affecté au véhicule afin de rendre opérationnel le système antidémarrage.
Ce code de réparation sera nécessaire en après-vente pour :
NOTA : Pour obtenir le code de réparation, il est impératif de connaître le numéro de série du véhicule.
Plusieurs moyens sont possibles en fonction des pays (consulter la note technique 3315E) :
PRESENTATION DU SYSTEME

Liaison multiplexée
Liaison filaire
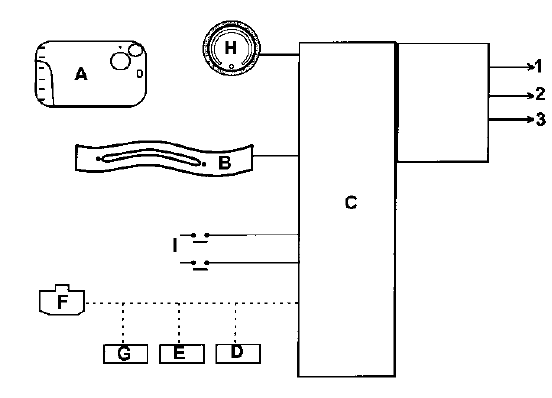
DESCRIPTION DU SYSTEME
Avec ce système, l'antidémarrage est activé quelques secondes après la coupure du contact (matérialisé par le clignotement du voyant rouge antidémarrage et le blocage du verrou électrique de colonne de direction.
Il se compose :
NOTA : Le lecteur de carte RENAULT n'est pas codé.
Pour la fonction antidémarrage, l'Unité Centrale Habitacle assure les fonctions suivantes :
NOTA : Pour les autres fonctions pilotées par l'Unité Centrale Habitacle, consulter le chapitre 87.
FONCTIONNEMENT
Lorsque le système antidémarrage est opérationnel le voyant rouge de l'antidémarrage clignote (clignotement lent; un éclairage/seconde). Le verrou électrique de colonne de direction est bloqué.
Cas particuliers
ATTENTION : lorsque la batterie est peu chargée, la chute de tension provoquée par la sollicitation du démarreur peut réactiver l'antidémarrage. Si la tension est trop faible, le démarrage est impossible, même en poussant le véhicule.
REMPLACEMENT ET CONFIGURATION DE L'UNITE CENTRALE HABITACLE
Les pièces neuves ne sont pas codées. Une fois montées sur le véhicule, il sera donc nécessaire de leur apprendre un code pour qu'elles soient opérationnelles.
Pour réaliser cette procédure, il est impératif que certaines pièces du véhicule soient déjà correctement codées (au code du véhicule). Consulter le tableau des affectations.
ATTENTION : Si une pièce apprend un code, celle-ci est affectée au véhicule, il est impossible d'effacer ce code ou de lui en apprendre un second. Le code appris ne peut pas être effacé.
Tableau des affectations

* La carte Renault affectée à un véhicule doit être vierge ou déjà apprise sur ce véhicule.
REMARQUE : celle-ci peut être apprise sur un véhicule mais non opérationnelle (non affectée).
RAPPEL : seules les cartes RENAULT présentées lors de l'affectation seront opérationnelles.
REMPLACEMENT ET CONFIGURATION DE L'UNITE CENTRALE HABITACLE
Une Unité Centrale Habitacle neuve n'est pas codée. Une fois montée sur le véhicule, il sera donc nécessaire de lui apprendre un code pour qu'elle soit opérationnelle.
Pour réaliser cette procédure, il est impératif de posséder au moins une des anciennes cartes RENAULT du véhicule, le code de réparation et que le calculateur d'injection soit correctement codé (consulter le tableau des affectations).
ATTENTION : si un code est appris dans l'Unité Centrale Habitacle, celle-ci est affectée au véhicule, il est impossible de l'effacer ou de lui en apprendre un second.
IMPORTANT : seules les cartes RENAULT présentées lors de cette procédure seront fonctionnelles à condition :
PROCEDURE D'APPRENTISSAGE DE L'UNITE CENTRALE HABITACLE
Carte RENAULT non présente dans le lecteur, entrer le code secret après-vente (12 caractères hexadécimaux) et le valider.
ATTENTION : entre chaque opération le délai maximal est de 2 minutes, sinon la procédure est annulée, l'outil affiche alors le message "procédure interrompue : attention, les cartes affectées au véhicules sont celles qui étaient affectées avant le lancement de la procédure. Les cartes présentées avant l'interruption de la procédure ne sont plus vierges et ne peuvent être affectées qu'à ce véhicule". Ce message apparaît également en cas de perte de dialogue avec l'Unité Centrale Habitacle ou de coupure batterie.
CAS PARTICULIERS
Si l'écran affiche :
Vérifier le code puis retenter la saisie.
ATTENTION : lorsqu'une Unité Centrale Habitacle a appris le code des cartes RENAUL T, il est impossible de l'effacer ou de mémoriser un autre code à la place.
PROCEDURE D'AFFECTATION DES CARTES RENAULT
NOTA : il est possible de savoir si une carte Renault est vierge par l'état : "ET 115 : carte vierge".
IMPORTANT : dans le cas où toutes les cartes RENAULT ne sont pas disponibles, il sera nécessaire de réaliser une procédure de réaffectation par la suite avec la totalité des cartes.
Présenter une autre carte.
ATTENTION : celles-ci doivent être des anciennes cartes RENAULT du véhicule ou des cartes RENAULT neuves non codées.
NOTA : le véhicule ne peut accepter qu'une seule carte RENAULT équipée de la fonction main-libre. Si une seconde carte RENAULT est affectée au véhicule, celle-ci fonctionnera comme une carte RENAULT simple.
ATTENTION : entre chaque opération le délai maximal est de 5 minutes, sinon la procédure est annulée, l'outil affiche alors le message "procédure interrompue : attention, les cartes affectées au véhicules sont celles qui étaient affectées avant le lancement de la procédure. Les cartes présentées avant l'interruption de la procédure ne sont plus vierges et ne peuvent être affectées qu'à ce véhicule". Ce message apparaît également en cas de perte de dialogue avec l'Unité Centrale Habitacle ou de coupure batterie.
NOTA : dans le cas d'un remplacement de l'Unité Centrale Habitacle seule, il n'y a aucune intervention à faire sur le calculateur d'injection, il conserve le même code antidémarrage.
CODAGE DU CALCULATEUR D'INJECTION
Le calculateur d'injection est livré non codé. Il sera donc nécessaire de lui apprendre le code du système antidémarrage à son montage afin d'autoriser le démarrage du véhicule.
Il suffit de mettre le contact pendant quelques secondes sans démarrer. Couper le contact, la fonction antidémarrage sera assurée après quelques secondes.
Contrôle
Il est possible de connaître l'état du calculateur d'injection à l'aide des outils de diagnostic.
ATTENTION
Avec ce système antidémarrage, le véhicule conserve son code antidémarrage à vie.
De plus ce système ne dispose pas de code de dépannage.
Par conséquent, il est interdit de réaliser des essais avec les calculateurs d'injection empruntés au magasin qui doivent être restitués.
Le code appris ne peut pas être effacé.
Antidemarrage
Lecteur carte RENAULTLongeron avant
Le remplacement de cette pièce est une opération
complémentaire au remplacement du renfort de
fixation de traverse extrême avant et du passage de
roue partie avant pour une collision avant.
Cette opération peut s'effectuer suivant deux
possibilités :
...
Interprétation des états
Tension alimentation calculateur
CONSIGNES
Aucun défaut ne doit être présent ou mémorisé.
Mettre le contact.
Vérifier la valeur de la tension + batterie.
Vitesse véhicule
CONSIGNES
Aucun défaut ne doit être présent ou ...
Environnement
Votre véhicule a été conçu avec la volonté
de respecter l'environnement
tout le long de sa durée de vie : lors de
sa fabrication, pendant son utilisation et
enfin pour sa fin de vie.
Cet engagement se traduit par la signature
du groupe Renault eco&su ...